Descrizione
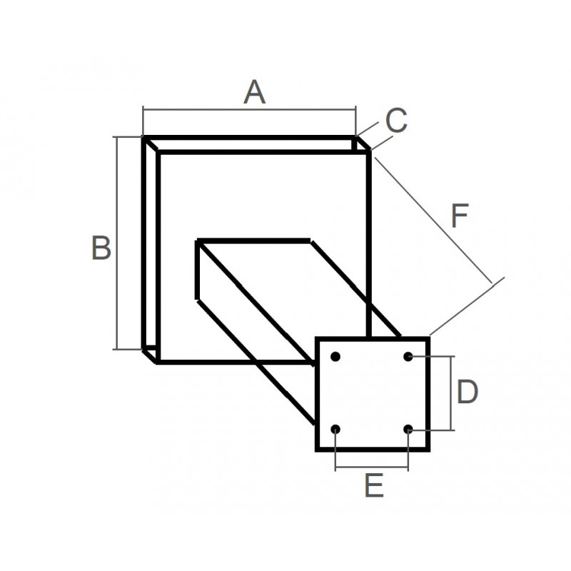
Supporto motore con struttura rinforzata, con tavoletta in legno multistrato spessore mm. 50, molle in acciaio inox molto robuste, regolazione in 4 posizioni, per motori 4 tempi fino a 9,9 HP oppure 2 tempi 25 HP. Escursione verticale cm. 33.







Recensioni
Ancora non ci sono recensioni.