Descrizione
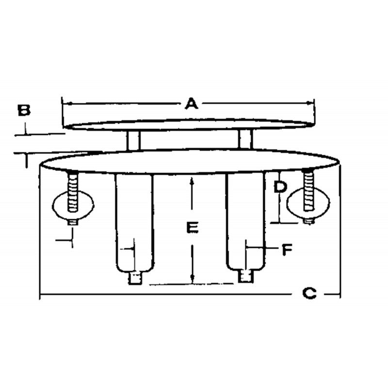
Bitta a scomparsain acciaio inox AISI 316. Espulsione automatica a molla conleggera pressione nella parte superiore della bitta stessa. Dotatadi scarico di drenaggio acqua. Molto robusta. Fissaggio conprigionieri. Fornito di perni dado e piastra.








Recensioni
Ancora non ci sono recensioni.